Did Apple just leak the design of the 1st-gen Glass in #iOS14? Here’s why I think this Animoji’s glasses are it.
https://abs.twimg.com/emoji/v2/... draggable="false" alt="👇" title="Rückhand Zeigefinger nach unten" aria-label="Emoji: Rückhand Zeigefinger nach unten"> [THREAD]
1/N
1/N
This is what tipped me off:
The new Stickers & Memoji icons in #iOS14 feature a gold Memoji wearing purple glasses.
I noticed it because it was such a high contrast icon — almost as if they want you notice the glasses.
Why would they even include glasses at all?
2/N
The new Stickers & Memoji icons in #iOS14 feature a gold Memoji wearing purple glasses.
I noticed it because it was such a high contrast icon — almost as if they want you notice the glasses.
Why would they even include glasses at all?
2/N
I was curious, so I took a look at the original Stickers icon.
To my surprise, the glasses wearing Memoji was there! Just chillin’ in the background, but as a purple Memoji with gold glasses instead.
Why did they end up picking the one with the glasses for the new icon?
3/N
To my surprise, the glasses wearing Memoji was there! Just chillin’ in the background, but as a purple Memoji with gold glasses instead.
Why did they end up picking the one with the glasses for the new icon?
3/N
Next, I wanted to see if there was a reason why they picked those glasses, over the others.
After comparing to the rest, I realized they felt a little out of place. Turns out, they were the only eyewear that had one piece of “glass”, rather than 2 distinct glasses.
4/N
After comparing to the rest, I realized they felt a little out of place. Turns out, they were the only eyewear that had one piece of “glass”, rather than 2 distinct glasses.
4/N
Which got me thinking: Is that why it’s supposedly named Glass (singular) and not Glasses (plural)?
I recall this 2017 patent. It shows one display, for both eyes.
Memoji launched in 2018, so the timeline still fits.
5/N
I recall this 2017 patent. It shows one display, for both eyes.
Memoji launched in 2018, so the timeline still fits.
5/N
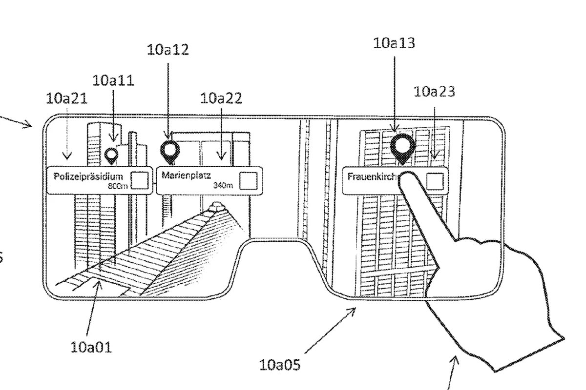
It all clicked when I saw this patent published a few days ago. It shows a *single* glasses-shaped display, connecting to some arms.
By far, this is the closest plausible hardware design we have for the N421 light-weight Glass we have.
6/N
By far, this is the closest plausible hardware design we have for the N421 light-weight Glass we have.
6/N
Bonus find:
The patent goes to reveal different “arms” for the glasses too. That just makes me think Glass will be more similar to Watch than we think.
Just like you mix and match a watch case with bands, you’ll get to customize with glass frames with arms too.
7/N
The patent goes to reveal different “arms” for the glasses too. That just makes me think Glass will be more similar to Watch than we think.
Just like you mix and match a watch case with bands, you’ll get to customize with glass frames with arms too.
7/N
One last thing:
I know Apple will design a desirable product — but in no way will it be traditional.
They’ll be cool enough to use regularly, but different enough turn heads: “it’s provocative... it gets the people goin’”
Glass will SCREAM: Eyewear designed by Apple.
8/N
I know Apple will design a desirable product — but in no way will it be traditional.
They’ll be cool enough to use regularly, but different enough turn heads: “it’s provocative... it gets the people goin’”
Glass will SCREAM: Eyewear designed by Apple.
8/N
To recap, my predictions & wishes for 1st-gen Glass so far:
https://abs.twimg.com/emoji/v2/... draggable="false" alt="🥽" title="Goggles" aria-label="Emoji: Goggles"> Single glass display for both eyes
https://abs.twimg.com/emoji/v2/... draggable="false" alt="⌚️" title="Armbanduhr" aria-label="Emoji: Armbanduhr">Customization through glasses arms
https://abs.twimg.com/emoji/v2/... draggable="false" alt="👾" title="Außerirdisches Monster" aria-label="Emoji: Außerirdisches Monster"> 80s, retro-future aesthetic
What did I miss?
9/N
What did I miss?
9/N
Read on Twitter